This is a neat idea, let's see if it ever comes to fruition.
Sony Patents MST3K-esque Feature
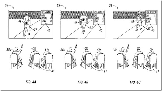
The Mystery Science Theater 3000 inspired patent would allow for a dynamic viewing experience.
				            	
				        
              		
              			
                				With Netflix starting on the PlayStation 3 this month, it appears Sony has put some serious thought into viewing presentation on the system.
Siliconera has dug up a patent that channels the spirit of Mystery Science Theater 3000 (MST3K).
As with the show, the patent describes a graphical overlay where viewers would see other individuals in front of them and on top of the actual visual item being presented. MST3K had a similar concept where the stars of the show were watching B-movies as viewers watched along with them as if they were located in the same place.
This patent features Sony's avatars as the other individuals in the theater, and according to the patent, includes the concept of mini-games as a form of interaction.
A variety of images from the patent are available below.



Comments